天眼查显示,钟薛高食品(上海)有限公司新增一则破产审查信息,申请人为上海臻料贸易有限公司,经办法院为上海市第三中级人民法院牛来了,公开日期为7月16日。

案件异议公告显示,因上海市杨浦区人民法院在执行中发现钟薛高食品(上海) 有限公司不能清偿到期债务,并且资产不足以清偿全部债务,经债权人申请,法院中止执行,并将被执行人为钟薛高食品(上海) 有限公司的案件移送本院进行破产立案审查。依据《中华人民共和国企业破产法》第十条第一款之规定,你公司及股东对申请如有异议,应在收到本通知之日起七日内向本院书面提出并附相关证据材料。

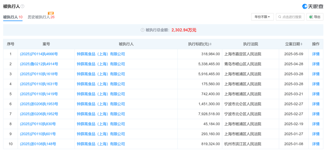
天眼查信息显示,钟薛高目前存在10条被执行人信息,被执行总金额2303万元。

值得注意的是牛来了,近日,钟薛高全资子公司即盘箸有喜(上海)生物科技有限公司被申请破产审查,经办法院为上海市第三中级人民法院。
此前,钟薛高另一全资子公司即钟茂(上海)食品科技有限公司已被申请破产审查,申请人为上海安得列郎晴食品贸易有限公司。

图据天眼查
公开资料显示牛来了,钟薛高成立于2018年,凭借标志性的瓦片造型雪糕和高端定位迅速走红,产品定价普遍超过10元,部分限量款甚至高达88元/支。
作为彼时的网红品牌,其首年营收即突破1亿元,2021年销售额更是一举突破10亿元大关。亮眼的业绩表现吸引了资本市场的关注,天眼查显示,钟薛高在2018—2021年先后完成4轮融资,其中A轮融资额达2亿元。
转折发生在2022年,“久放不化”的舆论事件引发公众质疑,2023年开始,钟薛高又接连曝出欠薪、人员流失问题。根据天眼查信息,钟薛高食品(上海)有限公司近年来面临多项法律诉讼,公司法定代表人林盛已被限制高消费。值得关注的是,该公司当前参保人数仅为2人,其全资控股的14家子公司中已有6家显示注销状态,21家分支机构均已注销。
为了自救,钟薛高已经在不断“瘦身”。其上海办公室已经退租,总部员工数量大幅减少。钟薛高创始人林盛甚至在直播间表示,有729名员工被拖欠薪资,并宣布“卖红薯还债”,截至发稿日,抖音账号“钟薛高老林”仅3201个粉丝。除了直播带货外,林盛还在寻求其他途径挣钱。
林盛此前表示在做三件事情,钟薛高本身的维系、做直播和做一些新的项目。对于新的项目,林盛表示一种是企业咨询形式,另一种是涉猎新的领域,以补充现金流。不过目前来看,钟薛高距离偿清债务仍相去甚远。
在钟薛高天猫官方旗舰店可见,目前只有轻牛乳、丝绒可可、半半巧巧3种经典口味的雪糕在售,10支组合装售价116元(一支合11.6元)。相比巅峰时期20余种SKU的产品矩阵,当前品类萎缩明显。据央广网,其客服回复表示:“公司经营困难,今年只有3个口味产品,公司会努力经营争取尽快恢复正常,其他产品再陆续上线。”

此前,钟薛高曾多次尝试通过子品牌战略培育“第二增长曲线”,例如先后推出定价3—12元/支的“李大橘”和3.5元/支的“Sa'Saa”雪糕品牌,以及速冻米面品牌“理象国”。然而,这些子品牌目前在线上及线下渠道均已销声匿迹。
综合央广网、公开资料等 牛来了
七星策略提示:文章来自网络,不代表本站观点。